“凯发电子”

19年入坑 雷火电竞 提现失败


AI智能文摘

暂无文摘

19年入坑 雷火电竞 陆续输了几百左右把 


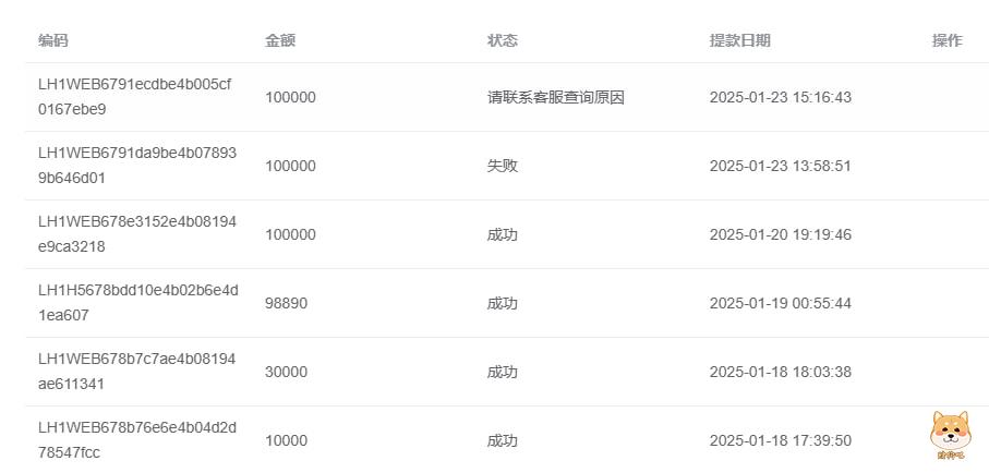
已经v8 近期有点小钱 玩了几天  赢一赢输一输   连续两次提现10w 卡款 拍身份证 都给了也给出了


这一次 充值4w左右  赢了三四十  忘记说了前面赢了 最开始每日提现上限是多少不知道 到那时很高 赢了之后提现第一次给卡款退回后就变成一天10w了 v8卡我10w   这一次赢了三四十 提现10w 提现失败 告知是超时  重新提 然后说风控 有卡住了 现在都没出来,然后我故意把号里面三十多输完了  还是不给出


还在卡着说等风控  无奈只能曝光  赢钱不行 输钱一直输 一赢就审核


试问 我运气好 拉电子老虎机赢了十几万 你审核个鬼啊  百家乐赢的30左右  


账号 1007195695   请雷火的负责人来处理这个事   联系方式你那边告知你们的客服找我就行了 
不处理 这个曝光不仅陆续回发出  付费我都要发出 


不是钱的问题 这几天我赌场线下赢了40w美 线上你们这么恶心我  几万块钱  本来心情很好 被你们搞死了

19年入坑 雷火电竞 提现失败19年入坑 雷火电竞 提现失败19年入坑 雷火电竞 提现失败19年入坑 雷火电竞 提现失败

    赌狗吧 - 老哥交流社区
    
    最新回复 (0)
    返回
    全网搜索·赌狗吧 - 天生赢家 一触即发
    pa直营平台 “澳门威尼斯人” 瓦力游戏 吉祥坊体育 DOU体育